2EDN8524RXUMA1 Infineon Technologies | Integrie...
TSSOP-8 to DIP Adapter – Pack of 4 | Artekit Labs
10PCS-NJM4580V-TE1-JRC4580-4580-TSSOP-8-Chipset...
TSSOP8 Adapter
TSSOP-8
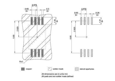
PG-TSSOP-8-1 - Infineon Technologies
PG-TSSOP-8-802 | TSSOP-8 (002-15912) - Infineon...
PG-TSSOP-16-8 - Infineon Technologies
PG-TSSOP-8-801 | TSSOP-8 (51-85093) - Infineon ...
Restraint System IC - Infineon Technologies
POGO ADAPTER TSSOP8 with LED
DIL8W/TSSOP8 ZIF 170mil
PG-TSSOP-8-2 - Infineon Technologies
Infineon 2EDN8524RXTMA1 2, 5 A, 8 → 20V 8-Pin, ...
FET & MOSFETs
P-TSSOP-8-800 | TSSOP-8 (51-85093) - Infineon T...
Защитная ИС / Каталог
Добавлен в каталог : Вторник, 06.12.2011
TSSOP-8L-0
IC LMV358 LOW VOLTAGE LOW POWER GENERAL-PURPOSE...
PCA9517DP I2C-Busrepeater Voltage Level Transla...
8-Pin TSSOP (FT008-E) – エイブリック株式会社
TSSOP-8 Datasheet(PDF) - Global Mixed-mode Tech...
IMS023 - 8205A 20V 5A DUAL N-CHANNEL MOSFET TSS...