Регулировка клапанов — Hyundai Solaris (2G), 1,...
Потекла прокладка клапанной крышки — Hyundai So...
Замена прокладки клапанной крышки Солярис 1.6 —...
Прокладка клапанной крышки и зазоры клапанов. —...
Замена прокладки клапанной крышки Хендай Гетц |...
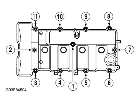
Схема затяжки клапанной крышки хендай солярис -...
замена прокладки клапанной крышки хендай соната...
Замена прокладки клапанной крышки — Hyundai Sol...
Замена прокладки клапанной крышки. — Hyundai El...
Замена клапана фазорегулятора и прокладки крышк...
Замена прокладки крышки клапанов на Hyundai Sol...
РЕМОНТ КЛЮЧА ХЕНДАЙ СОЛЯРИС АКЦЕНТ ЗАМЕНА ВЫКИД...
Замена прокладки клапанной крышки Солярис — Hyu...
Замена прокладки клапанной крышки и прокладки с...
Замена прокладки клапанной крышки — Hyundai Son...
Прокладка клапанной крышки — Hyundai Solaris (1...
Замена прокладки клапанной крышки №2 — Hyundai ...
клапанную крышку снял, ссыт — Hyundai Solaris (...
Замена прокладки клапанной крышки Hyundai Solar...
🎥🛠👍Хендай солярис, замена прокладки клапанной к...
№55 Замена прокладки клапанной крышки, масло, ф...
Прокладка клапанной крышки. — Hyundai Solaris H...
Замена прокладки клапанной крышки солярис рио (...
Замена прокладки клапанной крышки. — Hyundai Ma...
Кузовной ремонт Хендай Солярис. Рихтовка капота...
Прокладка клапанной крышки — Hyundai Solaris, 1...
РЕМОНТ ДВИГАТЕЛЯ ХЕНДАЙ СОЛЯРИС ПОПАЛ НА КОМПЛЕ...
Чистка клапана pcv — Hyundai Solaris (1G), 1,4 ...
ТО + замена поддона + замена прокладки клапанно...