Scheppach 89490713. Приспособление для правки а...
Шарошки для правки абразивных кругов купить
Алмазные инструменты и приспособления для правк...
ADEMS Helper - приспособление для устранения би...
Алмазное приспособление для правки абразивных к...
Приспособление для правки абразивных кругов - Y...
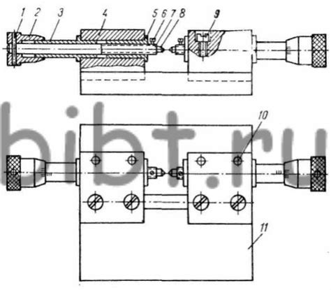
3Е642Е.П25 Приспособление универсальное для пра...
Алмазный карандаш для правки абразивных кругов
Алмазный карандаш для правки абразивных кругов ...
ПРИСПОСОБЛЕНИЕ ДЛЯ ПРАВКИ КРУГА ПОД УГЛОМ 3Е70....
Приспособление для правки абразивных кругов по ...
Workman 708018 приспособление для правки абрази...
Шарошка для правки абразивных кругов купить в К...
Звездочка (шарошка) для правки абразивных круго...
Приспособление для устранения биения абразивных...
Приспособление для правки абразивных кругов V-5...
Приспособление для правки круга по радиусу 3Е70...
Инструмент для правки абразивных кругов купить ...
Приспособление для балансировки абразивных круг...
Шарошка для правки абразивных кругов: применени...
Инструменты для правки шлифовальных, абразивных...
Приспособление для правки абразивных кругов