Электрокотел Warmos Start 5 купить в Москве | э...
ЭПО WARMOS START-5 в Йошкар-Оле купить в официа...
Котел электрический Эван Warmos Start 2023 — 5 ...
Электрокотлы ЭВАН Warmos START 5кВт
Купить Котел электрический Эван Warmos Start 5 ...
Электрический котел ЭВАН Warmos CLASSIC-5
Электрический котел ЭВАН 5 кВт Warmos Start 202...
Эван Warmos START - 5 цена - купить электрическ...
Электрокотел ЭВАН Warmos start 5 кВт - купить п...
Электрический котел ЭВАН 3 кВт Warmos Start - к...
Котел электр наст 5кВт Warmos Start 220/380В Эв...
Купить Электрический котел ЭВАН Warmos START-5 ...
Купить электрический котел Эван Warmos START - ...
Котел Эван 12947 Warmos Start - 7 12947 - выгод...
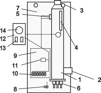
Warmos start 5 электроотопительный котел схема ...
Эван Warmos Start-5 12945 Москва | Ремонт и стр...
Котел электрический Warmos Start купить в Москв...
Электрический котел ЭВАН 5 кВт Warmos START - к...
ТЭН 1,7/220 для котла Эван Warmos-IV 5 (ten17Wa...
Обзор котла Warmos Start от ЭВАН - YouTube
Котел электрический Warmos START 2023, Эван | L...
Электрические котлы Эван Warmos Start-2023. Цен...
Купить электрический котел EVAN WARMOS START 5 ...
Котел электрический ЭВАН Warmos Start 5 купить ...
Электроотопительные котлы Warmos START 2023, ЭВ...
Электрический котел Эван Warmos 5 - выгодная це...