Изолятор ЛК-70/10-И-4 СП полимерный подвесной к...
ЛК-70/10-И-3 ГС изолятор композитный - ООО ЭНЕР...
Купить Размеры изолятора ЛК 70/330-3 СП - цены ...
Изолятор ЛКЦ 70-10-5 | Славметэнерго
Изолятор ЛК 70/10-4 СС цена, продажа. Купить из...
Изолятор Лк 70 10 Подвесной Литой Полимерныйlfo...
Изолятор ЛК-70/10, цена в Челябинске от компани...
Изолятор полимерный ЛК 70/10-IV (СП) - ООО "Дел...
Купить Размеры изолятора ЛК 70/110 СП - цены от...
Изолятор ЛК-70/10-И-4 СС (ЛК-70/10-Б4) - ООО "С...
Изолятор ЛК 70-10-5Ц в Украине
Полимерный изолятор ЛК 70/10-А3 УХЛ1, новый, в ...
Купить Чертеж изолятора ЛК 70/35 СП - цены от п...
Изолятор ЛК-70/35-И-2 СП (ЛК-70/35-А2) - ООО "С...
Полимерный изолятор (SML 70/10 СС) - Изоляторы ...
Изолятор ЛК 70/10-4 СП - Купить
Изолятор натяжной ЛК-70/10-И-3ГС
ЛК-70/20-И-3ГС - ООО ЭНЕРГЕТИК-1 Кабельные муфты
Изолятор ЛК-70/10-И4-СС
Полимерный изолятор (SML 70/10 ГС) НИЛЕД - купи...
Изолятор полимерный ЛК-70/10, купить в Екатерин...
Изолятор ЛК-70/35-И-2 ГС (ЛК-70/35-Г2) - ООО "С...
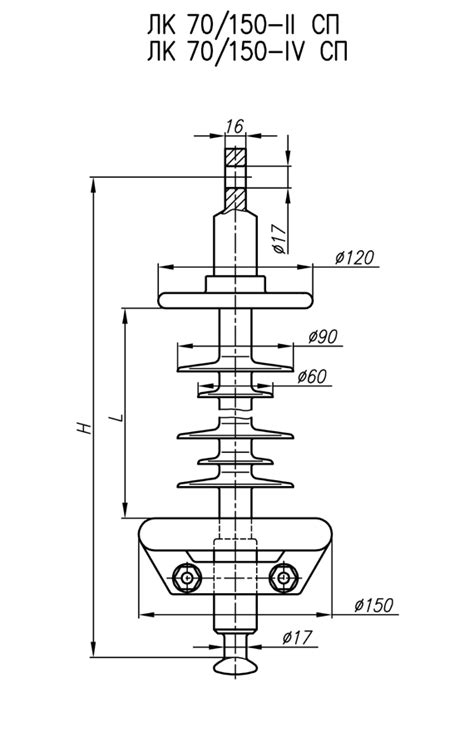
Купить Размеры изолятора ЛК 70/150 СП - цены от...
Изолятор ИТ-70 - ООО "Смартснаб"
Изолятор ВК лк 70/10 iv-гс 33400152 - выгодная ...
Изоляторы серии ЛК-70 - расшифровка, содержание...
Изолятор ЛК-70/10-И-3 СП (ЛК-70/10-А3) - ООО "С...
Изолятор ЛК-120/10-И-3 СС (ЛК-70/10-Б3) - ООО "...
Купить Изолятор ПС-70Е - РусЭнерго
ЛК-70/10-VI СС
Изолятор ЛК 70/10 А4 ГС УХЛ1