Температурные датчики – принцип работы, виды те...
Электрическая проводимость металлов - презентац...
Интегральные датчики. Датчики давления, влажнос...
Пример решения тепловой задачи | Силовая электр...
Датчики температуры - презентация онлайн
3.4. Электромагнитные датчики
2.3 Датчики положения
РАЗДЕЛ 7: Датчики температуры
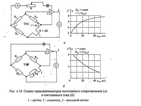
Датчики термоанемометров - презентация онлайн
Трехуровневый датчик температуры
Цифровые датчики температуры и их применение - ...
Генераторные датчики, Термоэлектрические датчик...
Зачем к датчикам температуры с двумя входами по...
Ученые изобрели датчик кислорода с уникальной н...
Датчик влажности и температуры - презентация он...
Датчики температуры: всё про термосопротивления
Термопара
Презентация на тему: "СОВРЕМЕННЫЕ ТЕРМОПАРНЫЕ С...
2 Датчики
Датчики. Какие бывают датчики, их принцип работ...
Параметрические датчики - презентация онлайн
Датчики температуры
2.4. Фізичний принцип дії датчиків
Измерение температуры и датчики температуры. Ча...
Датчик это: что такое, виды, классификация, уст...
2.2 Классификация средств измерения температуры
Лабораторная работа №2 Изучение работы термоэле...