Всемирный Бренд Керостаз .. - YouTube
Продукция
Гистологическая картина солнечного кератоза. Ви...
ᐉ Керамзит у Львові | Компанія ТзОВ "Соная"
кератоз - lineagediy
Кератоз - лечение, симптомы, диагностика, после...
کریستال کوارتز شفاف
Керамзит
Кератоз: 25 фото и описание болезни
Kryštof : Inzerát - CD | Bontonland.cz
Криостат. Большая российская энциклопедия
Житомир.info | Новый торгово-офисный центр «Міс...
КЕРАТОЗЫ - Медицинский справочник
Кератоз: косметический дефект и его лечение - E...
Neuer Kryostat für eine Vielzahl von Kryotomiea...
Кератоз Лечение Аптечными Средствами — 1-apteka...
Vanhan ajan esineet: Karstat
Себорейный кератоз - Андрейчев В.В.
Кератоз – лечение
Kryostat | SGE Spezialgeräteentwicklung
سنگ کریستال کوارتز
Кератоз штукатурный фото - как выглядит заболев...
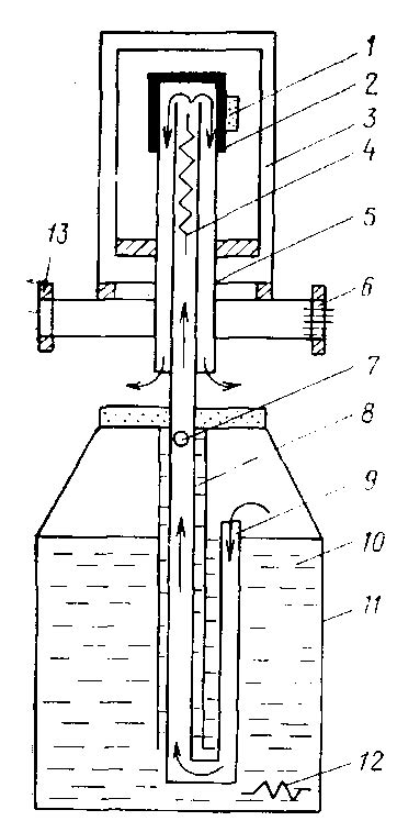
2.4 Кріостат
Заливной азотный криостат - купить, узнать цену...
Кератоз - YouTube
خرید و قیمت کریستال کوارتز از غرفه گالری گوهران
Криостаты лабораторные для научных исследований...
Коксартроз лікування без операції та ліків — ме...
Kryostate und Lösungen für Gefrierschnitte
Коростень | Korosten - SkyscraperCity
Солнечный кератоз: клиника, диагностика, лечение
Кератоз кожи: виды, причины, симптомы и лечение