Смеситель для мойки набортный двухвентильный с ...
Смеситель для мойки/умывальника СЛАВЕН двуручны...
Межгосударственный стандарт ГОСТ 25809-2019 на ...
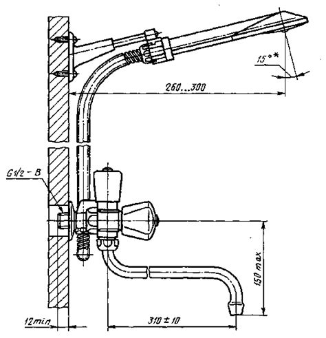
Рисунок 4 - Смеситель для умывальника двухрукоя...
Межгосударственный стандарт ГОСТ 25809-96 на см...
См-УмДЦБА, См-МДЦБА (ГОСТ 25809-96): Смеситель ...
См-УмДРНА, См-МДРНА (ГОСТ 25809-96): Смеситель ...
ГОСТ на смесители и краны водозаборные
Профсан (Profsan) on Twitter: "См-УмДРНА, См-МД...
ГОСТ 25809-96 Смесители и краны водоразборные. ...
Смеситель для мойки двуручный Istok life/Istok
Смесители и краны водоразборные Типы и основные...
См-УмДЦБр, См-МДЦБр (ГОСТ 25809-96): Смеситель ...
См-ВУДРНШлА (ГОСТ 25809-96): Смеситель для ванн...