Прицепы для легкового автомобиля — Honda Odysse...
Как соединить прицеп с легковым автомобилем
15 контактный разъем подключения прицепа схема ...
Сцепное устройство для прицепа легкового автомо...
Распиновка разъема прицепа легкового автомобиля...
Схема Подключения Розетки Прицепа Легкового - t...
Прицепы для легкового автомобиля
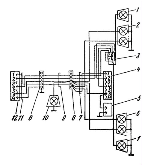
Схема подключения прицепа грузового автомобиля
7-контактный круглый разъем для прицепа - купит...
Тюнинг прицепа для легкового автомобиля 🦈 avtos...
Как Подключить Фаркоп На Легковой Автомобиль
Схема подключения розетки для прицепа на легков...
Прицеп для легкового автомобиля на рычажной нез...
Основные правила выбора легковых прицепов - Авт...
Электрическая Схема Легкового Прицепа - tokzame...
Схема подключения разъема на прицеп - 84 фото
Разъем для прицепа - купить с доставкой по выго...
Подключение розетки прицепа легкового автомобил...
Распиновка разъема легкового автоприцепа
Как выбрать легковой прицеп?
Как усилить легковой прицеп своими руками?
Схема Подключения Легкового Прицепа - tokzamer.ru
Схема розетки прицепа легкового автомобиля 7 ко...
Схема подключения розеток прицепа легкового авт...
Конструкция и общее устройство легкового прицеп...
Схема розетки на прицеп ваз
Проводка прицепа легкового автомобиля - техника...
Подключение разъёма для легкового прицепа
Легковой прицеп с пневмоподвеской - YouTube
Разъем прицепа 12В 7 контактов металл купить по...