Ту -144 ульяновского авиамузея.: igor113 — Live...
ЗАКАЗАЛ 144 ЮСПА🤯 - YouTube
Изоставените криле на България | Page 3
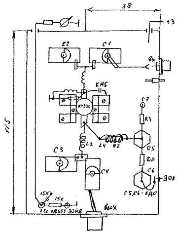
Усилитель мощности УКВ-радиостанции диапазона 1...
U144
UC-141 Пластиковый вкладыш для UC-1412A/D. Купить!
Антенна 144 Мгц - Страница 3 - КВ и УКВ радиосв...
PA в фотографиях: PA 144 MHz на ГУ84Б, UT5EC
Рекламоноситель № 144 | Зонд реклама
УКХ антена 144-146 МГц від US5NMC - YouTube
Импульсный ультразвуковой прибор ук-14п
МАКС-2013. Ту-144.: bender_avia — LiveJournal
УКВ приёмник К174ХА34 - YouTube
Укв Чм Приёмник На 144-146мгц - КВ и УКВ радиос...
Двухдиапазонная 144/430 Мгц – UN7FGO – блог
Почти христиане | «Моменты истины»; Александр Г...
Почему двигатель не менее важен, чем сам самолё...
Усилитель мощности на 144 МГц.
УКВ 144-146 МГц 1000 Вт усилитель мощности для ...
Unika Electronic Co., Ltd