Подшипниковый узел LSNR 207-ТВS - купить в инте...
Обзор подшипниковых узлов (корпусных подшипнико...
Подшипниковый узел с подшипником двухрядным под...
Подшипниковые узлы - преимущества и сферы приме...
Корпусные подшипники, подшипниковые узлы
Подшипниковый узел UCP 205 купить в СПб
Корпусной подшипниковый узел SKF FYTB 25 TF куп...
Корпусные подшипники
Подшипниковый узел | Смазка
Корпусной подшипниковый узел UCF205 - Чертежи, ...
Подшипниковый узел | Главный механик
Корпус подшипника. Купить в ООО Механический це...
Подшипники корпусные
Подшипниковые узлы купить Екатеринбург
Подшипниковые узлы, их надежность и долговечнос...
Корпусный подшипник UCP и его применение — Прод...
Подшипниковый узел
Подшипниковый узел с самоустанавливающемся подш...
Корпусной подшипниковый узел UCFC 210 Россия ку...
Корпус подшипника (подшипниковый узел) ⋆ Сибэле...
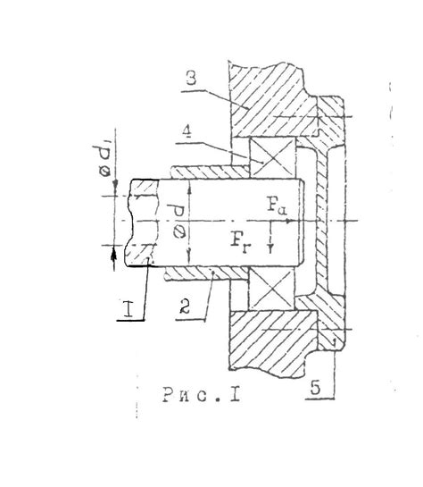
Изучение типовых конструкций подшипниковых узлов
Подшипниковые узлы от компании Inner Engineering
Подшипниковые узлы и корпуса купить в СПб по ГО...
Промышленные подшипники купить с доставкой по Р...
Корпусные подшипники. Подшипниковый узел. Интер...
Часть 3. Выбор посадок для деталей подшипниковы...
Корпусные подшипники, подшипниковые узлы, подши...
Вопросы и ответы о Корпусной подшипниковый узел...
Подшипниковый узел шариковый радиальный UCP-203...
Подшипниковые узлы, узел подшипника, корпусные ...