Замена Цепи Грм Мерседес 124 102 Двигатель - my...
Диагностический разъем мерседес 124 где находит...
Выхлопная система мерседес 124 102 мотор схема ...
Мерседес 102 двигатель зазоры клапанов
102 мотор Мерседес 124: особенности, технически...
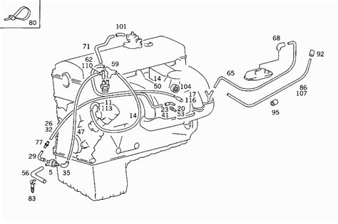
Двигатель 102 мерседес схема датчиков
Датчик давления масла мерседес 124 двигатель 103
Датчик Холодного Запуска Мерседес 124 - rusianp...
Мерседес 124 датчик коленвала где находится - 9...
Датчик температуры мерседес 124 | Датчики темпе...
124 мерседес 102 двигатель его неисправности
124 мерседес 102 двигатель его неисправности - ...
Mercedes-Benz W124 | Электрические датчики | Ме...
Где находится датчик коленвала на 104 двигателе...
Как проверить датчик давления масла мерседес 12...
Реле бензонасоса мерседес 124 102 двигатель рас...
Sensor, indsugningstemp. der passer til Mercede...
Двигатель 102 мерседес схема датчиков - БМВ Мас...
Мерседес 102 двигатель где находится номер двиг...
Мерседес 124 регулировка 102 двигателя
102 двигатель мерседес: Характеристики, система...