Винты Самонарезающие (Для Хирургии) Купить С До...
Самонарезающие винты: виды, характеристики, отл...
Самонарезающие винты и их характеристики | Инте...
Винты самонарезающие для Челюстно-лицевой хирур...
Винты самонарезающие с полупотайной головкой дл...
Винт самонарезающий с шестигранной головкой М6 ...
Самонарезающие винты - саморезы для строительст...
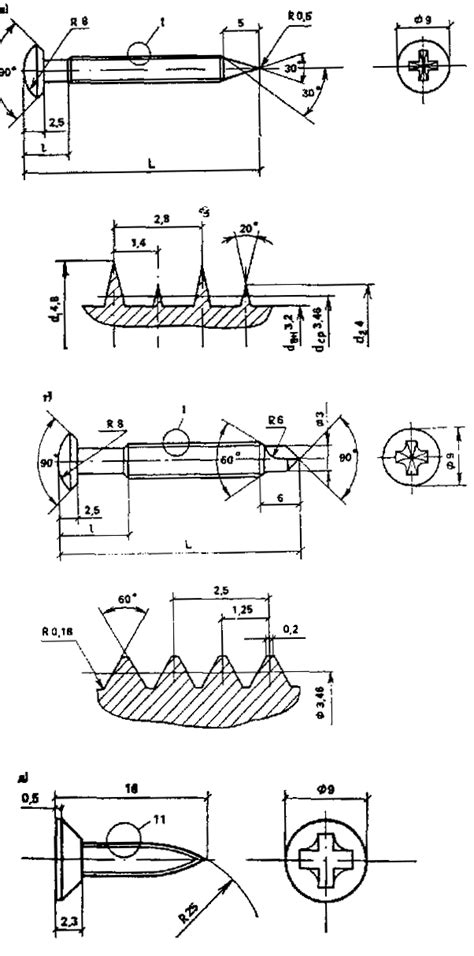
Винты
ВИНТЫ САМОНАРЕЗАЮЩИЕ ГОСТ ООО "Арматон" ⋆
Винты самосверлящие самонарезающие
Самонарезающие винты: что это и зачем они нужны...
Винты самонарезающие для крепления профилирован...
DIN 7981 Самонарезающие винты формы C и F
Самонарезающие винты в строительстве: конструкц...
ГОСТ Р 59571-2021. Винты самонарезающие. Общие ...
Самонарезающий винт DURO PT S 6,0x14,5 купить в...
Винт самонарезающий, 100шт. - электрические кор...
Таблица соответствия стандартов DIN, ISO и ГОСТ...
Винт Самонарезающий купить на OZON по низкой цене
Винты самонарезающие ГОСТ 10619-80 с потайной г...
DIN 7513 Винты самонарезающие купить, цены в Ек...
Купить саморезы по низкой цене, опт. Самонареза...